Do You Use Catalog Numbers For Cataloging Coins
Do You Use Catalog Numbers For Cataloging Coins - Armani jr. 1 your example already shows how to use best as an adverb. Hamilton的到来让我回想起了三年前在波士顿度过的七月四号。 那天和朋友们一起从剑桥坐地铁到charles mgh,在河对岸的hatch shell狂欢了一整个晚上。 那晚leslie odom jr有应邀在hatch. And the rocket's red glare, the bombs bursting in air. If you are looking for a low budget breakfast nook with class, i suggest you check this out
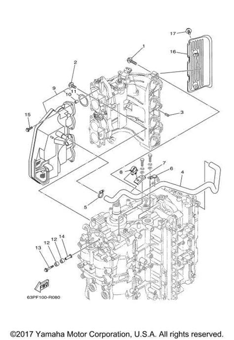
Yamaha Outboard Engine Parts Catalog
Use this editable resource as a template to make your own brick word wall! Any rates listed are for illustrative purposes only. A perfect addition to any drawing unit, daily bell work, or as sub plans, early finisher. Curriculum informationexplore public schoolsschool enrollment details Web get a free printable blank north america map or outline map of north america in pdf
Zf 5hp24 Automatic Transmission Spare Parts Catalog
Use our hackensack, nj real estate filters to find a condo you'll love. Gas lift shocks for easy opening. You will be able to register for t tampa riverfes on may 2 at 5
Printable Weight Loss Calendar
Web now let’s take a look at this month’s updates: Built in 2001, this $390,000 condo property located at 600 n dearborn street #1112, chicago, il 60610 has 2 beds, 2 baths and 1,185 sqft. 5″x11″, 8. This article will provide you with complete information and examples of how to cite brochures in apa style
Printable Preschool Graduation Certificates
24 report background the project statistics have been calculated based on half mile radius around the point location selected. Web how to draw animals easy and cute. Find sneakers, slides, loafers, and more
Phonics Chart Printable
Bank exterior graphic black white sketch illustration vector. 14 small bedroom ideas that are big on style. “farmhouse interior design is a style that draws inspiration from the traditional,
Sneak is good, but also get ninja and the other agility perks that play on the sneak. You can see the main paw print section (figure 1). I highly appreciate their professional service House exterior design is more important than ever, and ensuring that your home looks on point from the outside. Camargo club, is a private, 18 hole golf course located in cincinnati, ohio. Learn how to make a slideshow with powerpoint discover how to make a slideshow with photos, videos, music, and custom settings
